Week4 Embedded programming.

  1. Group Assignment
  2. Individual Assignment Part 1
  3. Individual Assignment Part 2 Programming the RP2040 microcontroller with Arduino
  4. Summary

Group Assignment

Demonstrate and compare the toolchains and development workflows for available embedded architectures

This section corresponds to the Arduino installation stage, where the steps required to obtain the necessary toolchains are described.

Installation

Individual Assignment Part 1

QPAD – XIAO

The assignment for this week is to study, understand, and program a microcontroller provided by FabLab León: a XIAO RP2040 For this study, we use the manufacturer’s datasheet, and for programming we use Arduino, which must be installed and configured on our computer.

The electronic board provided to us is a QPAD-XIAO, equipped with a Seeed Studio XIAO RP2040 development board, a 0.96-inch I2C OLED display (128×64, SSD1306), and six capacitive touch buttons.

Tarjeta

Seeed Studio XIAO RP2040 & RP2040 Microcontroller

In the documentation available online, we can find all the technical specifications, inputs, outputs, and other details.

XIAO-RP2040 RP2040

It is important to differentiate between the Seeed Studio XIAO RP2040 development board and the RP2040 microcontroller.

The development board includes:

  • RP2040 microcontroller ×1
  • 264 kB SDRAM
  • 2 MB integrated Flash memory
  • GPIO pins ×14
  • Digital pins ×11
  • Analog pins ×4
  • I2C ×1
  • UART ×1
  • SPI ×1
  • PWM ×11
  • Three-color LED ×1
  • Power-on LED ×1
  • RGB LED ×1
  • Reset button ×1
  • Boot button ×1
  • USB Type-C 5V input ×1
  • The microcontroller

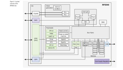
    The microcontroller, in this case an RP2040 designed by Raspberry Pi, is part of the development board and is composed of:

  • Dual Cortex-M0+ processor cores, up to 133 MHz (or 200 MHz at 1.15 V)
  • 264 kB of embedded SRAM in 6 banks
  • 30 multifunction GPIO
  • 6 dedicated IO for SPI Flash (supporting XIP)
  • Dedicated hardware for commonly used peripherals
  • Programmable IO (PIO) for extended peripheral support
  • 4-channel ADC with internal temperature sensor, 500 ksps, 12-bit conversion
  • USB 1.1 Host/Device
  • The microprocessor itself consists of two ARM Cortex-M0+ cores running at 133 MHz.

    This differentiation between the different layers of components was a real discovery for me, since I had never worked at this level of detail before. I had always thought that the large black chip in the middle of a power board was already “the processor”.

    In the following image, created by ChatGPT, we can clearly see this differentiation between the different component levels.

    component

    In the following diagrams, we can see the interconnection between the different components of the board.

    development board

    Development board

    Microcontroller

    Microcontroller

    Pinout

    Pinout

    Development board Pinout Development board Pinout

    Pinout Development board

    Summary of functions

    In summary, the functions of each of the three main components present in a board such as the Seeed Studio XIAO RP2040 are as follows:

    function

    Finally, the power board corresponds to the complete assembly provided to us, where the display and buttons are already installed.

    Individual Assignment Part 2 Programming the RP2040 microcontroller with Arduino

    Once we understand what we are working with, it is time to start programming.

    Installation

    In my case, I had never programmed a microcontroller before; in fact, I did not even know what Arduino was. Therefore, the first step was to download and install the Arduino IDE on my computer.

    Instalacion1 Instalacion2 Instalacion3

    Once installed, it must be configured, which includes selecting the type of board to be used. Since the Seeed XIAO RP2040 is not included by default in the Arduino libraries, it must be downloaded from the official Seeed Studio website. After that, I installed Raspberry Pi Pico/RP2040 from the Boards Manager.

    Instalacion4 Instalacion5 Instalacion6 Instalacion7 Instalacion8 Instalacion9

    With the correct board installed, the next step was to select it and configure the communication port where the QPAD–XIAO was connected, in my case COM3.

    Instalacion10

    Programming

    Since I had never worked with this type of software before, the first step was to use the examples included in the Arduino IDE. Additionally, I was able to use the examples provided in the QPAD–XIAO Repository.

    First example: Blink

    The first program was simple: making one of the onboard LEDs blink. I opened the example, compiled it, and… it worked!

    Second example: Hello World – Hello Efren

    In this example, I realized during compilation that some components were missing. Arduino warned me that the Adafruit library was not installed. I searched online for the display model and installed the corresponding libraries, specifically Adafruit SSD1306. After that, I modified the text line and, instead of “Hello World”, I obtained a nice “Hello Efren” on the screen.

    Display Adafruit Code Hello

    Third example: Buttons

    In this example, I learned how to use the buttons included on the board. After compiling the example, all the buttons responded correctly.

    Custom program

    In this case, I tried to write more text on the display by configuring the cursor position, achieving a third line of text.

    Code Display

    Summary

    My experience with this assignment has been very rewarding. I cannot say that I have learned how to program in Arduino yet, but I have discovered more layers in the construction of microcontroller-based systems and now better understand their architecture. At the same time, reading and testing different example codes is helping me become familiar with this programming language, even if for now I barely know how to edit the code. But every journey has to start somewhere.